Arama
Kapat

ELTA 1116 Kızdırma Rolesı Scudo Em 91515869, 9251586780, 9251586980, 581CR01, PCR5020, 4792112, 5946920, 5973754, 5990986, 7617640


CİTROEN AX , BX , C15 , C25 , VISA - FIAT 131 , ARGENTA , CROMA , DUCATO - PEUGEOT 205 I, 205 II, 305 I, 305 II, 309 I, 309 II, 405 I, 405 II, 504 , 505 , 604 , 605 , J5 - RENAULT 20 , 25 , 30 , FUEGO - SEAT 131 , IBIZA I, MALAGA , RONDA

Üretici/Marka: ELTA
Stok Kodu: elta-automotive-1116
Üretici Numarası: 1116
OEM: 91515869, 9251586780, 9251586980, 581CR01, PCR5020, 4792112, 5946920, 5973754, 5990986, 7617640
GTIN/EAN: 8699166099427
Teslim süresi: İrtibat Kurunuz
Durumu: Stokta Yok
2.020 ₺ %10
1.818 ₺

Ürün Özellikleri

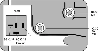
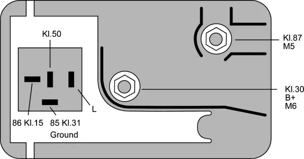
Kutup sayısı 6
Uzman personel tarafından montaj/demontaj gereklidir!
Ön kızma süresi: 8 sn.
İlave parça 2: Sonrası devam eden kızma süresi yok
İlave parça: Harici ısı tespitine sahip değil
Gerilim: 12 V

Orijinal Parça Üreticisi Bilgileri (OEMs)

CITROEN: 598111, 9251586780, 92515867, 598115, 4792112, 581CR01, 5946920, 479212, 5981110, 7617640
FERRARI: 4792112, 5990986, 9462703, 9251586980, 598111, 92515869, 9151586980, 581CR01, 598115, 9251586780
FIAT: 4792112, 5990986, 9462703, 9251586980, 598111, 92515869, 9151586980, 581CR01, 598115, 9251586780
IVECO: 4792112, 5990986, 9462703, 9251586980, 598111, 92515869, 9151586980, 581CR01, 598115, 9251586780
PEUGEOT: 598111, 9251586780, 92515867, 598115, 4792112, 581CR01, 5946920, 479212, 5981110, 7617640
ROVER: 9625203680, 9615938380, 4792112, 46438456, PRC5020, 479212, PCR5020, 5946920, 9614167780, 9462703
SEAT: 581CR01, 92515869, 7617640, B515867, 479212, 9151586980, 598115, 5981110, 598111, 91515869
TALBOT: 92515867, 9251586980, 5981110, 7700733390, 9151586980, 4792112, 479212, 7617640, 581CR1, 581CR01

Alternatif Ürünler

BOSCH: 250201039, 250201952, 333402509, 333402517, 333402524
DELPHI: HDC102, HDC120
ERA: 661277
EUROREPAR: 1616054080, 1643002180
FEBİ BİLSTEİN: 11086
HELLA: 4RV008188091, 4RV008188111, 8188091
MAGNETI MARELLI: 62900010304, UX2A
MEAT DORIA: 7244021, 7244045
NAGARES: TPD512
NGK: 2237, 2643, 3219, 3380
SEIM: 64210
SIDAT: 244019, 244021, 244045, 244046, 285600, 285600AS, 285680, 285680AS, 285690, 285690AS, 285700, 285700AS, 285780
SWAG: 70911086
TRW: HDC102
VALEO: 102696, 245603, 345100, 73103402, 73105002

Ürünün Kullanıldığı Araçlar

Üretici ModelYılBeygirKasa Tipi
CİTROEN AX 14 D TUD309.1988-06.199252Hatchback
CİTROEN AX 14 D TUD3Y08.1991-12.199750Hatchback
CİTROEN BX 1.8 D XUD710.1985-09.199360Hatchback
CİTROEN BX 19 D XUD9A09.1983-09.199364Hatchback
CİTROEN BX 19 D XUD9A09.1983-11.199464Station wagon
CİTROEN BX 19 D XUD9A/U03.1987-02.199369Hatchback
CİTROEN BX 19 D XUD9A/U03.1987-12.199469Station wagon
CİTROEN BX TRD Turbo XUD7TE03.1988-02.199390Hatchback
CİTROEN BX TRD Turbo XUD7TE03.1988-12.199490Station wagon
CİTROEN C15 1.8 D XUD707.1986-12.200060Kasa/büyük limuzin
CİTROEN C25 1.9 D XUD9A/U07.1987-02.199469Minibüs/Otobüs
CİTROEN VISA 17 D XUD704.1984-03.199160Hatchback
FIAT 131 2.0 D 8144.6503.1978-03.198760Sedan
FIAT 131 2.0 D 8144.6507.1978-08.198460Station wagon
FIAT 131 2.5 D 8144.6106.1978-02.198472Sedan
FIAT 131 2.5 Super Diesel 8144.6103.1979-12.198472Station wagon
FIAT ARGENTA 2500 Diesel 8144.6106.1981-11.198572Sedan
FIAT CROMA 2500 D 8144.6712.1985-12.198975Hatchback
FIAT DUCATO 2.4 D 8144.6107.1982-12.198572Minibüs/Otobüs
FIAT DUCATO 2.5 D 4x4 8144.6701.1987-08.199075Minibüs/Otobüs
FIAT DUCATO 2.5 D 4x4 8144.6707.1990-03.199475Minibüs/Otobüs
FIAT DUCATO 2.5 D 4x4 8144.6703.1989-08.199075Panelvan/Van
FIAT DUCATO 2.5 D 4x4 8144.6707.1990-03.199475Panelvan/Van
FIAT DUCATO 2.5 D 4x4 8144.6703.1989-08.199075Platform şasi
FIAT DUCATO 2.5 D 8140.6703.1994-04.200284Panelvan/Van
FIAT DUCATO 2.5 D 8140.6703.1994-04.200284Platform şasi
FIAT DUCATO 2.5 D 8144.6707.1990-03.199475Minibüs/Otobüs
FIAT DUCATO 2.5 D 8144.6701.1986-08.199075Minibüs/Otobüs
FIAT DUCATO 2.5 D 8144.6701.1982-08.199075Panelvan/Van
FIAT DUCATO 2.5 D 8144.6707.1982-08.199075Platform şasi
FIAT DUCATO 2.5 D 8144.6703.1989-03.199475Platform şasi
FIAT DUCATO 2.5 D Combinato 8140.6708.1994-04.200284Minibüs/Otobüs
FIAT DUCATO 2.5 TD 4x4 8140.2701.1991-03.199495Minibüs/Otobüs
FIAT DUCATO 2.5 TD 4x4 8140.2707.1990-03.199495Panelvan/Van
FIAT DUCATO 2.5 TD 4x4 8144.2101.1986-08.199092Minibüs/Otobüs
FIAT DUCATO 2.5 TD 8140.2706.1990-05.199495Minibüs/Otobüs
FIAT DUCATO 2.5 TD 8140.2707.1990-03.199495Panelvan/Van
FIAT DUCATO 2.5 TD 8144.2101.1987-08.199092Minibüs/Otobüs
FIAT DUCATO 2.5 TD 8144.2101.1986-08.199092Platform şasi
PEUGEOT 205 I 1.7 Diesel XUD708.1983-10.198760Hatchback
PEUGEOT 205 II 1.7 Diesel XUD707.1987-09.199860Hatchback
PEUGEOT 205 II 1.8 TD XUD7TE01.1990-09.199878Hatchback
PEUGEOT 205 II 1.9 Diesel XUD9A10.1987-09.199864Hatchback
PEUGEOT 305 I 1.5 Diesel XID11.1977-09.198249Sedan
PEUGEOT 305 I 1.5 Diesel XID08.1980-09.198249Station wagon
PEUGEOT 305 II 1.9 D XUD910.1982-07.198864Sedan
PEUGEOT 305 II 1.9 D XUD910.1982-07.198865Sedan
PEUGEOT 305 II 1.9 Diesel XUD910.1982-12.198864Station wagon
PEUGEOT 305 II 1.9 Diesel XUD910.1982-12.198865Station wagon
PEUGEOT 309 I 1.9 D XUD906.1986-07.198964Hatchback
PEUGEOT 309 II 1.8 Diesel XUD707.1989-12.199360Hatchback
PEUGEOT 309 II 1.8 TD XUD7TE08.1989-12.199378Hatchback
PEUGEOT 309 II 1.9 Diesel XUD907.1989-12.199364Hatchback
PEUGEOT 405 I 1.8 TD XUD7TE10.1988-08.199290Station wagon
PEUGEOT 405 I 1.8 Turbo Diesel XUD7TE03.1988-12.199290Sedan
PEUGEOT 405 I 1.9 D XUD9A10.1988-08.199269Station wagon
PEUGEOT 405 I 1.9 Diesel XUD9A03.1988-12.199269Sedan
PEUGEOT 405 II 1.9 D XUD9A06.1994-10.199568Sedan
PEUGEOT 504 2.1 D XD4x9002.1971-07.198665Sedan
PEUGEOT 504 2.1 D XD4x9004.1971-07.198665Station wagon
PEUGEOT 504 2.3 D XD207.1975-12.198369Sedan
PEUGEOT 504 2.3 D XD207.1975-07.198669Station wagon
PEUGEOT 505 2.3 Diesel XD2S04.1982-06.198680Station wagon
PEUGEOT 505 2.3 Turbo Diesel XD2S09.1980-06.198680Sedan
PEUGEOT 505 2.5 Diesel XD306.1981-12.199375Sedan
PEUGEOT 505 2.5 Diesel XD310.1981-11.199069Sedan
PEUGEOT 505 2.5 Diesel XD308.1983-12.199375Station wagon
PEUGEOT 505 2.5 Diesel XD301.1986-12.199370Station wagon
PEUGEOT 505 2.5 Turbo Diesel XD3T10.1983-12.199390Sedan
PEUGEOT 505 2.5 Turbo Diesel XD3T10.1983-12.199095Sedan
PEUGEOT 505 2.5 Turbo Diesel XD3T10.1985-11.198790Station wagon
PEUGEOT 604 2.3 TD XD2S09.1979-05.198380Sedan
PEUGEOT 604 2.5 TD XD3T08.1983-12.198690Sedan
PEUGEOT 605 2.1 D XUD11A06.1989-07.199582Sedan
PEUGEOT 605 2.1 TD 12V XUD11ATE08.1994-09.1999109Sedan
PEUGEOT 605 2.1 Turbo Diesel XUD11ATE06.1989-09.1999109Sedan
PEUGEOT J5 1.9 D XUD9A10.1990-02.199470Minibüs/Otobüs
PEUGEOT J5 1.9 D XUD9A10.1990-03.199470Panelvan/Van
PEUGEOT J5 1.9 D XUD9A10.1990-02.199470Platform şasi
PEUGEOT J5 2.5 D 4x4 PSA10.1990-02.199473Minibüs/Otobüs
PEUGEOT J5 2.5 D 4x4 PSA10.1990-03.199473Panelvan/Van
PEUGEOT J5 2.5 D 4x4 PSA10.1990-02.199473Platform şasi
PEUGEOT J5 2.5 D PSA10.1990-02.199473Minibüs/Otobüs
PEUGEOT J5 2.5 D PSA10.1990-02.199473Platform şasi
PEUGEOT J5 2.5 TD 4x4 U25/67310.1990-02.199495Minibüs/Otobüs
PEUGEOT J5 2.5 TD 4x4 U25/67310.1990-03.199495Panelvan/Van
PEUGEOT J5 2.5 TD 4x4 U25/67310.1990-02.199495Platform şasi
PEUGEOT J5 2.5 TD U25/67310.1990-02.199495Minibüs/Otobüs
PEUGEOT J5 2.5 TD U25/67310.1990-02.199495Platform şasi
RENAULT 20 2.1 Diesel 85270210.1980-12.198364Hatchback
RENAULT 20 2.1 TD J8S70201.1982-12.198386Hatchback
RENAULT 25 2.1 Diesel J8S73606.1989-12.199269Hatchback
RENAULT 25 2.1 Turbo-D FWD J8S70804.1984-12.199286Hatchback
RENAULT 30 2.1 Turbo-D J8S70202.1982-03.198686Hatchback
RENAULT FUEGO 2.1 TD J8S71208.1982-10.198588Coupe
SEAT 131 2.4 Diesel 8144.6106.1978-12.198672Sedan
SEAT IBIZA I 1.7 D 022A.500006.1984-05.199354Hatchback
SEAT MALAGA 1.7 D 022A.500005.1985-12.199354Sedan
SEAT RONDA 1.7 Diesel 022A.500006.1982-12.198656Hatchback
SEAT RONDA 1.7 Diesel 022A.500006.1982-12.198654Hatchback
Whatsapp 05495343125